微帮忙职称评审咨询服务中心

搜索

省质量正高级、省安防中级、镇海工业工程中级、丽水工程技术中初级等评审结果发布!

发表时间:2022-11-29 09:27

镇海区工业工程中级评审结果发布


11月28日,宁波市镇海区工程技术人员中级专业技术职务任职资格评审委员会发布《2022年度镇海区工业工程中级工程师专业技术职务任职资格评审会议评后公示》,经宁波市镇海区工程技术中级专业技术职务任职资格评审委员会2022年11月26、27日评审通过,叶晓珍等169人具有工程师职务任职资格,现予以公示。


图片


公示时间:2022年11月28日至12月2日


具体人员名单可复制下方链接查看


https://zcps.rlsbt.zj.gov.cn/028/client/index6page2.jsp?column1=8a1293778438d7f9018479e8ac534c5e



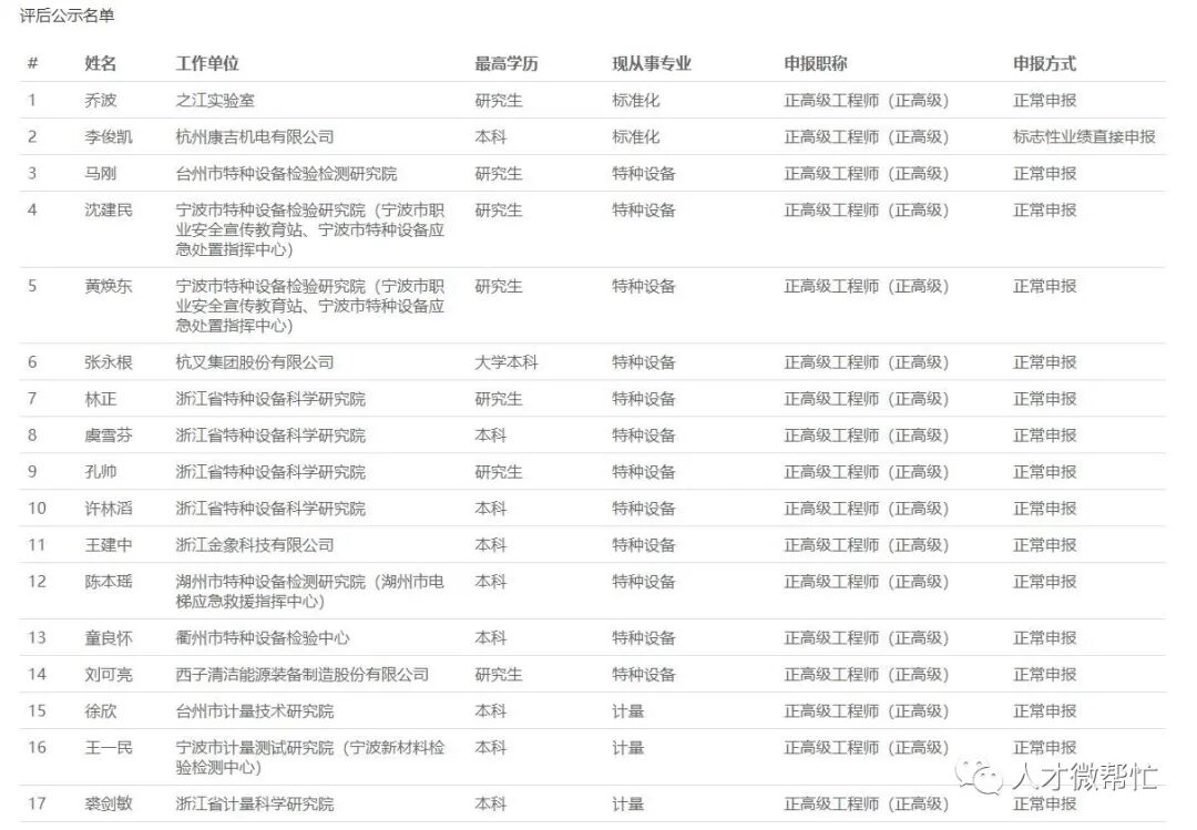
省质量技术基础专业正高级评审结果发布

11月28日,浙江省质量技术基础专业技术人员正高级工程师职务任职资格评审委员会发布《2022年度浙江省质量技术基础专业正高级工程师专业技术职务任职资格评审会议评后公示》,经浙江省质量技术基础专业正高级工程师专业技术职务任职资格评审委员会2022年11月26日评审通过,乔波等31人具有正高级工程师职务任职资格,现予以公示。


公示时间:2022年11月28日至12月02日


官方发文可复制下方链接查看


https://zcps.rlsbt.zj.gov.cn/028/client/index6page2.jsp?column1=8a129377849a6a1f0184a207accf6e45


人员名单

图片
图片


上下滑动查看


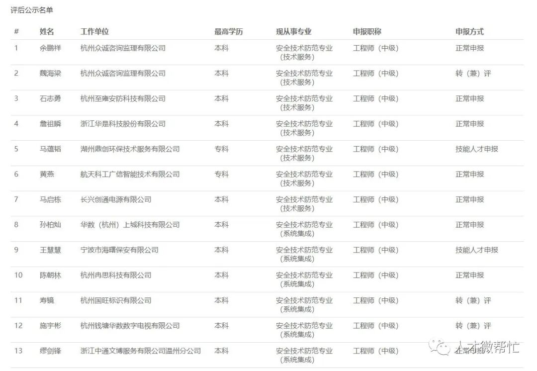
省安防中级评审结果发布

11月26日,浙江省安全技术防范行业工程师职务任职资格评审委员会发布《2022年度浙江省安全技术防范行业工程师专业技术职务任职资格评审会议评后公示》,经浙江省安全技术防范行业工程师职务任职资格评审委员会2022年11月26日评审通过,余鹏祥等40人具有工程师职务任职资格,现予以公示。


公示时间:2022年11月26日至12月2日


官方发文可复制下方链接查看


https://zcps.rlsbt.zj.gov.cn/028/client/index6page2.jsp?column1=8a1293778438d7f901847f21cdc3679a


人员名单

图片
图片
图片


上下滑动查看


丽水企业工程技术中初级结果发布发布

11月28日,丽水市企业工程技术人员中级专业技术职务任职资格评审委员会发布《2022年度企业工程技术人员中初级职称评审会议评后公示》,经丽水市企业工程技术人员中级专业技术职务任职资格评审委员会2022年11月27日评审通过,汤吉光等339人具有企业工程技术人员中初级专业技术职务任职资格,现予以公示。


公示时间:2022年11月28日至12月2日


具体人员名单可复制下方链接查看


https://zcps.rlsbt.zj.gov.cn/028/client/index6page2.jsp?column1=8a1293778489fc6a01848ef7a7985ac9



自主评价

经丽水市企业工程技术人员中级专业技术职务任职资格评审委员会2022年11月27日评审通过,胡媛等79人具有企业工程技术人员中初级专业技术职务任职资格。


公示时间:2022年11月28日至12月2日


具体人员名单可复制下方链接查看


https://zcps.rlsbt.zj.gov.cn/028/client/index6page2.jsp?column1=8a1293778489fc6a01848f1024207c70


温州自然资源和规划工程初中级结果发布

11月28日,温州市自然资源和规划工程技术人员工程师职务任职资格评审委员会发布《2022年度温州市自然资源和规划工程领域初、中级专业技术职务任职资格评审会议评后公示》,经温州市自然资源和规划工程技术人员工程师职务任职资格评审委员会2022年11月27日评审通过,李思思等49人具有助理工程师职务任职资格,林鹏翔等46人具有工程师职务任职资格,现予以公示。


公示时间:2022年11月28日至12月2日


具体人员名单可复制下方链接查看


https://zcps.rlsbt.zj.gov.cn/028/client/index6page2.jsp?column1=8a1293778489fc6a0184994536f0201e



职称服务热线
0571-28037381
15757175623
人才微帮忙公众号
微帮忙
添加客服微信获取职称申报方案
联系电话15757175623
职称留言表
姓名
*
服务项目
*
联系电话
*
提交