微帮忙职称评审咨询服务中心

搜索

拱墅区23年职称初定认定工作通知发布!2022年省正高级工艺美术师评前公示发布!

发表时间:2023-03-06 17:06

拱墅区2023年职称初定认定工作安排发布

3月3日,杭州市拱墅区人类资源和社会保障局发布《关于做好拱墅区2023年职称初定认定工作的通知》,对拱墅区2023年职称初定认定工作做出相关安排。

图片

图片

图片


有准入要求的职业,申报初定认定助理级以上职称应先取得相应有效的职业资格。


学历(位)和专业工作年限要求

所学专业与从事的专业岗位要求,学历(位)和专业工作年限具体要求如下:

1

初定

1.取得中专学历(含中等专业学校、职业高中、技工院校中级工班,均指毕业,下同)或大学专科学历(含技工院校高级工班,均指毕业,下同)后,从事专业工作满1年的人员,可初定员级职称。

2.取得大学专科学历后,从事专业工作满3年的人员,可初定助理级职称

3.取得大学本科学历(含技工院校预备技师班和技师班,均指毕业,下同)后,从事专业工作满1年的人员,可初定助理级职称

4.取得第二学士学位或研究生班毕业学历人员具有研究生学历或硕士学位者可初定助理级职称

5.具有研究生学历或硕士学位者从事专业工作满3年(学历或学位取得前后从事本专业或相近专业的工作年限可以相加,但学历或学位取得后从事专业工作须满1年),可初定中级职称

6.博士学位获得者可初定中级职称


2

认定

1.取得中专学历后,从事专业工作满5年,可认定助理级职称。

2.取得中专以上学历,现任员级专业技术职务满1年,因专业技术岗位变动,可认定相应的员级职称。

3.取得中专以上学历,现任助理级专业技术职务满1年,因专业技术岗位变动,可认定相应的助理级职称。

4.获得高级工职业资格或职业技能等级后,从事技术技能工作满2年,可认定相应专业助理级职称(适用工程、农业、工艺美术、文物博物、实验技术、艺术、体育、技工院校教师等职称系列)。


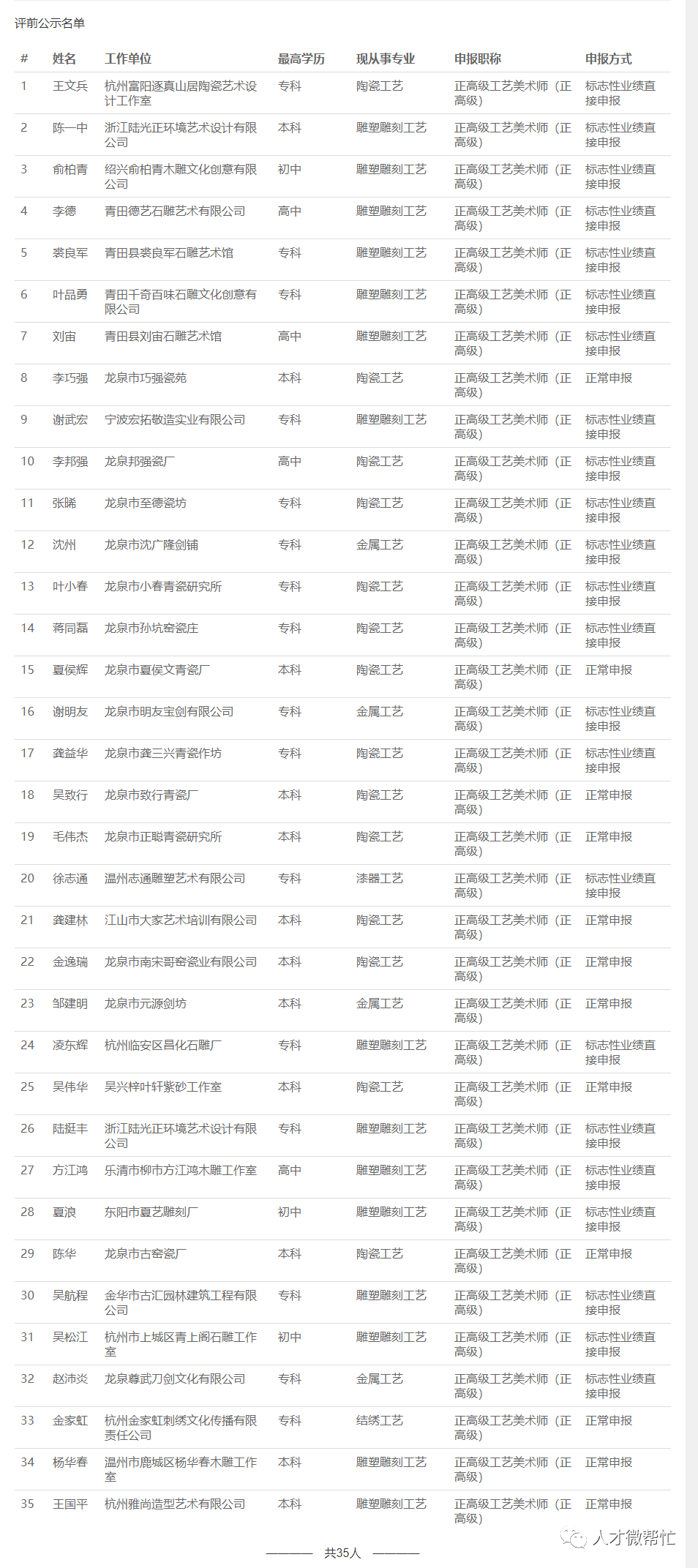
2022年度省正高级工艺美术师评前公示发布

3月3日,浙江省正高级工艺美术师职务任职资格评审委员会发布《2022年度浙江省正高级工艺美术师专业技术职务任职资格评审申报计划评前公示》,申报2022年度浙江省正高级工艺美术师共38人,经审查拟同意提交评审35人,拟不同意提交评审3人,现予以公示。

图片

公示时间

公示时间:3月3日至3月9日


人员名单

图片


职称服务热线
0571-28037381
15757175623
人才微帮忙公众号
微帮忙
添加客服微信获取职称申报方案
联系电话15757175623
职称留言表
姓名
*
服务项目
*
联系电话
*
提交