微帮忙职称评审咨询服务中心

搜索

23年度台州市质量技术基础中级、医药行业中级评前公示发布!

发表时间:2023-09-07 16:49

01

23年度台州市质量技术基础中级评前公示发布

9月7日,台州市质量技术基础专业人员中级专业技术职务任职资格评审委员会发布《2023年度台州市质量技术基础工程师专业技术职务任职资格评审申报计划评前公示》,经个人申报、单位及相关部门审核,共有8人符合2023年度质量技术基础专业工程师专业技术职务任职资格评审条件。现将评审对象有关情况予以公示,接受社会监督。

图片

公示时间

公示时间为5个工作日,自2023年9月7日至202年9月13日


人员名单

图片



02

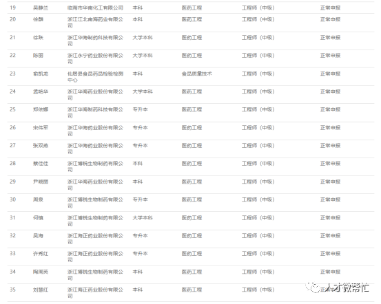
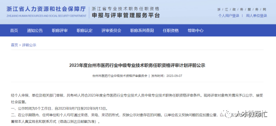
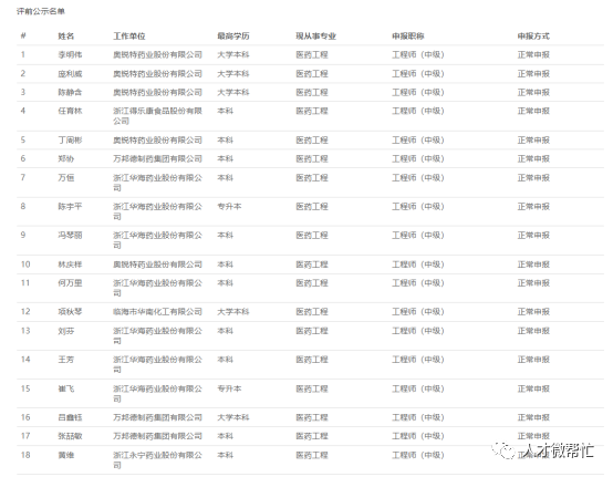
23年度台州市医药行业中级评前公示发布

9月7日,台州市医药行业中级技术资格评审委员会发布《2023年度台州市医药行业中级专业技术职务任职资格评审计划评前公示》,经个人申报、单位及相关部门审核,共有46人符合2023年度全市医药行业专业技术人员中级专业技术职务任职资格评审条件。现将评审对象有关情况予以公示,接受社会监督。

图片

公示时间

公示时间为5个工作日,自2023年9月7日至202年9月13日


人员名单

图片

图片


职称服务热线
0571-28037381
15757175623
人才微帮忙公众号
微帮忙
添加客服微信获取职称申报方案
联系电话15757175623
职称留言表
姓名
*
服务项目
*
联系电话
*
提交